Precision Needle Roller Bearings - General Overview
Nomenclature
The precision needle roller bearing has a one-piece, channel-shaped outer race of bearing quality steel, heat treated to provide maximum bearing capacity and life. Precision grinding assures optimum roller load distribution within the bearing. The heavy duty race permits assembly into housings with either a slip fit or a press fit, as required by the application. Single row bearings are available in inch dimensions and metric dimensions, some double row metric sizes are available. Precision roller bearings offer the following advantages to the designer:
- Very high capacity.
- Moderate cross section.
- Permits installation in split housings.
- Long, no maintenance service life when properly lubricated.
- Excellent service at high rotational speeds. -
- Easy installation.
- Superior anti-friction performance.
- Excellent shock resistance.
Bearing Construction
Precision needle roller bearings have a steel cage which provides inward retention of the needle rollers. The design provides maximum cage strength consistent with the long life requirements. The retainer is radially located by the outer race flange and contacts the rollers only near the ends and at the roller pitch diameter, where accurate guidance is obtained with minimum effort. Pitch line guidance at the roller ends results in minimum stress on the retainer and assures roller stability. Contact area and force required for effective roller guidance are reduced, thus minimizing drag between retainer and rollers. The design leaves the center area of the retainer open to enhance circulation of lubricant.
Sealed Bearings
Precision needle roller bearings are offered with integral seals on certain sizes. The lip contact seals limit the bearing operating temperature between -25 °F and +225 °F (-30 °C and +110 °C). The seal lip design achieves a light and constant contact with the shaft or inner race thereby ensuring positive sealing and low frictional drag. Sealed bearings are intended to retain grease or non-pressurized oil within a bearing while also preventing contaminants entering the raceway area. The standard lip contact seals are compatible with common lubricating oils and petroleum based fuels, but they are adversely affected by certain fire-resistant hydraulic fluids and most common solvents.
Housing and Shaft
Housings should be designed so that the heavy radial loads placed on the bearings will cause a minimum of housing deflection. Housings should be bored to the dimensions recommended and should be round. The taper should not exceed .0005"(13 µm) in the length of the bearing or one-half of the housing bore tolerance, whichever is smaller. The finish should not exceed 125 micro-inches, aa (arithmetical average).
Precision roller bearings can be installed into housings with a press fit or a slip fit. Press-fit the outer race assembly in the housing when the housing rotates relative to the load. Slip-fit the outer race assembly in the housing when the housing is stationary relative to the load. In either case, locate snap rings or other means to prevent axial movement.
When possible, line-bore housings which are common to one shaft to obtain parallelism of the housing bores and a common shaft axis. Since the precision roller bearing does not require a press fit in the housing to round and size it properly, a split housing may be used if desired. Dowels should be used to maintain proper register of the housing parts.
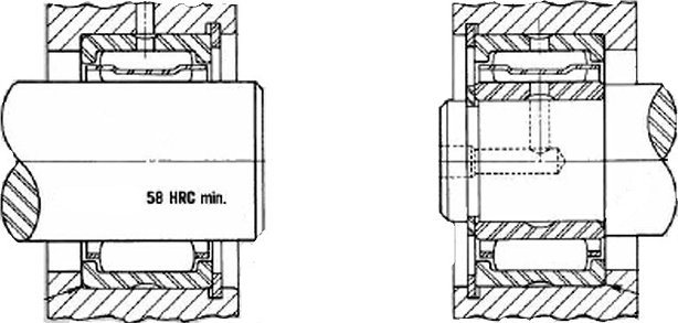
To utilize bearing capacity fully, uniform load distribution must be maintained over the entire contact length of the rollers. Therefore, the designer must consider shaft deflection as well as bearing capacity. To achieve maximum bearing life, the shaft slope through the bearing should not exceed .0015" per inch (15 µm/cm) for shafts up to and including 2" (50 mm). Do not exceed .0010” per inch (10µm/cm) for shaft sizes from 2" to 3". For larger sizes, .0005" per inch should not be exceeded. When the shaft is used as the inner race, it must be at least surface hard with a reasonable core strength. Any hardening method may be used that produces a minimum surface hardness of HRc58 when tested. If this hardness cannot be obtained, the bearing's capacity is limited.
Mounting
The recommended mounting practice requires that shoulders, spacers or snap rings must be square with the shaft center. Housing shoulder diameters should conform to dimensions given. The mounting dimensions given provide proper running clearances when used as indicated, i.e. use shaft diameter for slip fit bearing when the bearing is mounted in its housing with a slip fit. Oscillating applications may require low diametral clearance so special fits may be required. Never hammer the bearing into its housing even in conjunction with the proper assembly mandrel.
Figure 1 – Typical precision needle bearing mounting
Lubrication
The Precision roller bearing with its unique cage and outer race construction lends itself to those applications where oil can be supplied or where grease is desired. For those applications requiring grease lubrication, the bearing can be supplied pre-packed with suitable grease. Where it is desired to use the initial lubricant for the life of the device, it must be remembered that this life is limited to the life of the lubricant. The bearing is supplied with a lubrication groove on the O.D. of the outer race and holes to facilitate lubrication.
Basic Life Calculation
The life expectancy (L10 life) in hours of a bearing can be calculated by using the following formula:
L10 = (16,666/n) x (C/Pe)10/3
n = Speed (RPM)
C = Load Capacity
Pe = Applied Load
